青岛新增65处交通技术监控设备!还有这些通知…
所有鲁B、鲁U车主注意啦!
近日,
青岛市公安局崂山公安分局交通警察大队
新增65处交通技术监控设备
赶快看看有没有你常通行的路段!
![]()
↓↓↓
青岛这个区
新增65处交通技术监控设备
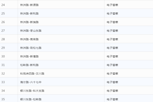
为确保道路交通安全、畅通,有效预防和减少交通事故,近期,青岛市公安局崂山公安分局交通警察大队新增65处交通技术监控设备,共包括52处电子警察设备,5处行人闯红灯设备,6处鸣笛抓拍设备,2处违停抓拍设备。现将本次新增的交通技术监控设备设置地点予以公布,望广大驾驶人、车辆所有人及管理人周知,严格遵守道路交通安全法规,共同维护道路交通秩序安全畅通。
新增交通技术监控设备设置地点如下
↓↓↓
![]()
![]()
![]()
![]()
![]()
![]()
此外,还有一大波出行的重要通知涉及地铁站出入口临时封闭青岛汽车总站再增冬季优惠线路赶快看看↓↓↓
这些地铁站出入口临时封闭
乘坐地铁的小伙伴们注意啦!青岛这些地铁站出入口临时封闭!赶快看看↓↓↓
因施工需要,以下车站出入口将临时封闭。
12月5日23:00―12月9日04:00期间对2号线燕儿岛路站C出入口实行封闭施工。
12月6日00:00―12月10日23:59期间对3号线青岛站K出入口实行封闭施工。
12月6日00:00―12月15日23:59期间对2号线浮山所站D出入口实行封闭施工。
12月6日00:00―12月23日0:000期间对石老人浴场站A出入口实行封闭施工,其中A2口全幅封闭且扶梯停运,A口通站厅通道半幅封闭。
具体开放时间以现场实际施工进度为准。出入口封闭期间请乘客从其他出入口进出车站。
青岛汽车总站再增冬季优惠线路
近日,从青岛汽车总站获悉,继11月28日在上海班线开展冬季优惠活动以来,青岛汽车总站即日起增加冬季优惠线路班次,去西安、苏州等地更便宜。此次新增的优惠线路涉及西安、常州、苏州、湖州、绍兴等地。其中,青岛至西安的票价优惠高达137元。
![]()
![]()
这些重要的出行消息
别忘了赶紧通知身边朋友们~
